例如空調設備,電梯,機床,輸送帶等電力拖動場合。電力拖動是指用電力(通常是電動機)拖動負載。據統計,全球總電量一半左右都是被電機消耗,并且越發達地區電機消耗電量比例越高。
但是當三相異步電動機長時間未使用,或三相異步電動機運行出現異常情況時,機械問題比較好發現,但是有些在內部的電氣問題,我們很難發現,需要借助測量儀表快速判斷電機繞組的好壞?,F場工作中對三相異步電機好壞的判斷,分別需要判斷電機三相繞組的電阻是否平衡測量,還要判斷電機的絕緣是否良好。判斷完后電機繞組沒有問題,機械方面也沒有問題,電機就能正常使用。電能質量分析儀今天重點介紹如何快速判斷電機繞組好壞的方法。
三相繞組阻值測量
首先可以使用萬用表測量三相定子繞組的電阻是否平衡。測量方法,首先將電機繞組的短接片拆除,分別用萬用表電阻檔測量U1/U2?V1/V2?W1/W2三相繞組的阻值。三相電機每相繞組的阻值一般在零點幾歐到幾十歐,功率越大的電機,阻值越小,所以這個沒有固定值,根據電機的功率不同而不同。正常情況三相阻值都是非常接近或相等。 測量結果三相電阻最大值和最小值與平均值之差,不得超過平均值的±1到2.5%。否則就有繞組損壞的可能。嚴重情況下將迅速燒壞電機。
絕緣阻值測量說明
電機絕緣阻值測量可分為:電機三相繞組之間的絕緣阻值測量;各繞組對地的絕緣也就是對外殼的絕緣阻值測量。由于是絕緣阻值電阻都非常大,萬用表測量電壓不夠,所以測量絕緣阻值時,需要用兆歐表檢查,也叫搖表或者絕緣電阻表。我們應根據被測電動機的額定電壓來選擇兆歐表的等級。例如500V以下的低壓電動機,選用500V的兆歐表。
三相異步電動機由于長時間高溫下使用容易絕緣損壞,造成絕緣下降以后,容易造成外殼漏電,繞組與繞組間發生短路,導致漏?;蚩臻_頻繁動作跳閘。當出現電機的斷路器頻繁且無規律動作跳閘時,需要測量其絕緣阻值,低壓電機絕緣測量結果為使用過的電機應不小于0.5MΩ,新電機不小于1MΩ。方可投入使用,反之則需要進行檢修。
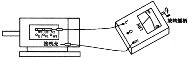
相間絕緣阻值測量
通常電機繞組通過短接片相連在一起,測量相間絕緣阻值時不拆短接片測量值相當于繞組發生短路,必須拆除短接片才能讓各繞組分開。需要將兆歐表的紅表筆夾U1接線柱上,黑表筆夾在V1接線柱上。然后搖動搖表,搖到頻率120轉每分鐘。大概一分鐘左右后讀數,此時要邊搖邊讀數。記錄下此時的U1和V1相的絕緣阻值。然后按上述操作再分別測試U1/W1;V1/W1的相間絕緣阻值,最后查看它們之間的絕緣阻值是否在正常范圍內。

相間對地絕緣阻值測量
相間對地絕緣阻值判斷時,分別測量各相繞組和外殼的絕緣阻值,將搖表紅表筆夾在U1接線柱上,黑表筆夾在電機外殼。注意外殼要沒有油漆,否則測試不準。然后搖動搖表,搖到120轉每分鐘。搖到大概一分鐘左右讀數,此時要邊搖邊讀數。接下來依次重復剛才步驟測量V1對外殼;W1對外殼,記錄測量的絕緣阻值是否在正常范圍內。

相關閱讀
◆ 如何用兆歐表測量電機繞組絕緣電阻
◆ 巧用萬用表判別電動機三相繞組的首尾端
◆ 電動機三相繞組的星形接線法和三角形接線法
