一、防爆撓性管防爆原理是什么?防爆撓性管到底有沒有防爆作用?
1、防爆撓性管防爆原理
防爆撓性軟管與相連的隔爆型儀表內部發生可燃氣體爆燃時,爆燃能量(熱量及壓力)一部分可被防爆撓性軟管吸收,一部分壓力通過接頭向外界及穿線管泄放,泄放過程中熱能進一步被接頭金屬吸收,最后達到不會引燃(引爆)外部可燃氣體的目的。防爆撓性管的接頭都是金屬的,連接是可透氣的,墊圈也是金屬的,就是為了達到泄放和吸收的目的。由此可以看出,防爆撓性的防爆原理基本就是靠爆炸室的延伸,減小爆炸能量,防止引燃外部可燃氣體。
2、防爆撓性管有沒有防爆作用?
實際工程中,防爆撓性管在儀表接線口處是不密封的,易導致儀表進水,可燃氣體也可進入隔爆儀表內部。上述原理說防爆功能是靠爆炸室的延伸,減小爆炸能量,防止引燃外部可燃氣體的原理來實現防爆的。但是誰能保證就不會引燃外部氣體呢?防爆撓性管可保護儀表電纜不被外力傷害,真正起防爆功能的是和儀表連接的防爆密封接頭。
3、防爆撓性管單獨使用防爆效果有限,需與防爆格蘭頭等組成完整的系統。更多的作用是對電纜本身的物理保護,防止電纜受到外部傷害。如果使用防爆撓性管,建議也要在儀表進線口引入防爆格蘭頭密封裝置,防止可燃氣體進入隔爆內腔。

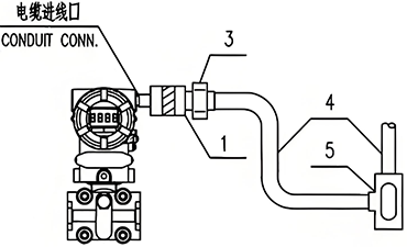
二、通常防爆撓性管連接方法
1、電纜配線方式
現場儀表電纜通常敷設在匯線槽、托盤或鋼管中。但在各類現場儀表或接線箱的電纜進線口外側附近的一小段電纜,不同工程中對其保護及處理方法有較大區別。按對電纜保護方式的不同,分以下兩類:
①連續式
電纜在鋼管或撓性管內完整地得到保護,無外露之處,不易受機械外傷,這種敷設方式有兩個實施方案,即:鋼管及附加部件直接連接到儀表(或接線箱)本體上;電纜穿過鋼管及撓性管連接到儀表(或接線箱)本體上;
②非連續式
電纜從現場儀表或接線箱引出后的一段較短距離內,保護管是斷開的,電纜是裸露的,沒有加以保護。
上述連接方式在國內外的工程中均有采用,因為在有可能產生危險火花部件殼體的電纜進線口處,均采取了有效的隔離和密封,所以都滿足防爆及保護要求。
2、考慮到目前電纜施工實況推薦采用電纜密封接頭+匯線槽(非連續式保護連接)、電纜密封接頭十鋼管(非連續式保護連接)、電纜密封接頭十鋼管(連續式保護連接)和電纜密封接頭撓性管十鋼管(連續式保護連接)四種連接方法。
①隔爆電纜密封接頭+匯線槽(非連續式保護連接)

②隔爆電纜密封接頭+鋼管(非連續式保護連接)

③隔爆電纜密封接頭+鋼管(連續式保護連接)

④隔爆電纜密封接頭撓性管+鋼管(連續式保護連接)

注:1帶隔爆密封接頭的撓性管
三、結論
1、從圖集的以上①②③④接線方式中可以看出,不管哪種方式,在儀表的進線口都是帶有隔爆密封裝置的。可見防爆撓性管需要和隔爆密封接頭裝置配合使用。
2、對于鎧裝電纜,可采樣第①和②種方式,若是非鎧裝電纜,要做好電纜保護,避免電纜受外部環境影響,損傷電纜。
3、對于非鎧裝電纜,可采樣第③和④種方式。在一些規范明確必須配防爆撓性管的場合,須采用第④種方式。
4、不管采用哪種方式,儀表進線口都要安裝隔爆密封接頭裝置。
相關閱讀
◆安裝儀表使用撓性管的一些誤區
◆防爆撓性管備受安全專家鐘愛,何故?
◆防爆區域儀表使用防爆撓性管的規范要求
◆SH/HG/GB規范對撓性管使用的具體要求
