彈簧管壓力表校準和維修時,要把壓力表指針完整無損的從中心軸上取下來,需要使用壓力表起針器,即可平穩地取下指針,又不會損壞壓力表的中心軸。壓力表起針器可購買成品,由于其結構簡單,完全可以自己制作,通過制作還可以提高儀表工的動手能力,昌暉儀表現介紹一種壓力表起針器的制作方法。
壓力表起針器制作方法
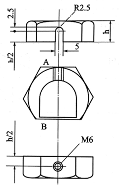
準備一個M20或M22的普通螺母,按圖1所示,把圖中螺母上的虛線部分去除,有條件時可用機床加工,當然也可以采用手工鋸割、銼削加工的方法。然后再按圖2所示尺寸,在A端鉆孔并攻絲,在拉腳(B)銼削加工一個半圓。由于選用的螺母厚度不一定相同,因此,圖中標注的2個尺寸h/2分別是指螺母厚度的1/2,即A端面鉆孔并攻絲的圓心點,及拉腳(B)銼削加工半圓的圓心點,均應選擇在螺母厚度的1/2處。

圖1 待加工螺母示意圖 圖2 壓力表起針器加工圖
再找一顆M6的螺釘,在沒有螺紋的一端,焊接上橫桿或圓手柄,由于其尺寸靈活性很大,圖中沒有標注具體的尺寸,可根據自已的喜好來加工制作就行了。在有螺紋的另一端固定安裝上頂針,一個壓力表起針器就做好了,制作好的起針器形狀如圖3所示。
頂針直徑只要有φ0.7mm,φ1mm,φ1.2mm三種,就可以滿足大多普通壓力表、精密壓力的使用了,其中應用最多的是1mm的,其他規格可根據企業實際情況加工制作,而頂針與M6螺桿的固定方式有三種形式,頂針的加工如圖4中的E端局部放大圖所示。其制作方法如下:

圖3 壓力表起針器外觀圖 圖4 壓力表起針器頂針制作示意圖
圖4中的(a)是采用鉆孔攻絲的方法,攻2.6mm的螺紋,鉆孔直徑為2.15mm。孔可以鉆深點以方便攻絲操作,然后旋上螺釘,旋緊后對螺釘外露部分進行銼削加工,銼削成圖中所示的圓錐狀,這樣頂針就加工好了。
圖4中的(b) 是采用焊接的方法,即根據頂針直徑鉆一個小孔,再找一小截鋼絲做頂針,插入已鉆好的孔中,用銅焊或錫焊進行焊接,焊接后對頂針稍作銼削加工即可。圖4中的(c)是采用縮孔的方法,即根據頂針直徑鉆一個小孔,但孔的直徑要比插入做頂針的鋼絲稍大一點,把鋼絲要插入孔中的一端用錘進行敲打使其變扁一點,然后把鋼絲插人鉆好的孔中至底部,用圓沖頭對孔邊進行縮孔,使插入的鋼絲既能活動但又掉不出來即可,對頂針端頭稍作銼削加工即完成。
壓力表起針器使用方法
壓力表起針時要雙手操作,左手拿著起針器,先將拉腳套在指針軸套后面,然后把起針器頂針的頂端與機芯中心軸對正,然后用右手順時針方向旋轉頂針桿上的橫桿或圓手柄,即可將指針取下來。
沒有起壓力表針器時怎樣起針
可用兩把一字形的旋具把指針撬下來。方法是:使用兩把一字形旋具,對置于指針軸套后面左右兩側,并使旋具桿靠在表殼兩邊作為支撐點,兩手握住旋具手柄用力把指針撬下來。撬指針時用力要適度,用力過猛會把指針彈跑了,且兩手用力要均勻,以免機芯中心軸彼撬彎了。不提倡用此方法,只可在沒有壓力表起針器時用來應急。
在看完文章后,如果您需要選購壓力表,請到儀表選型http://m.fg316.com/product/了解壓力測量儀表的性能特點和應用。
