溫度傳感器凸臺焊接于設備或管道上,用于安裝帶固定螺紋的熱電偶、熱電阻和雙金屬溫度計,通常用在較高溫度或不超過6.3MPa壓力的工況環境中。為方便用戶和設計院朋友方便選用溫度傳感器凸臺,昌暉儀表制造有限公司分享安裝凸臺的詳盡技術參數。

熱電偶安裝直型凸臺|熱電阻安裝直型凸臺

熱電偶安裝45°角凸臺|熱電阻安裝45°角凸臺

雙金屬溫度計安裝直型凸臺

溫度傳感器安裝凸臺外形示意圖
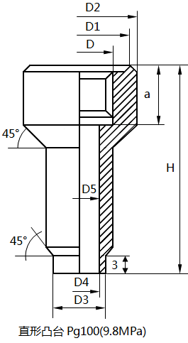
1、直型凸臺

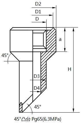
2、45°角凸臺

凸臺安裝示意圖(適用于熱電偶、熱電阻和雙金屬溫度計)
1、凸臺垂直管道安裝方法

2、凸臺彎曲管道安裝方法

3、凸臺傾斜管道安裝方法

4、凸臺垂直管道安裝方法

